Bladder Cancer Brachytherapy

Project Overview
University
Year
About
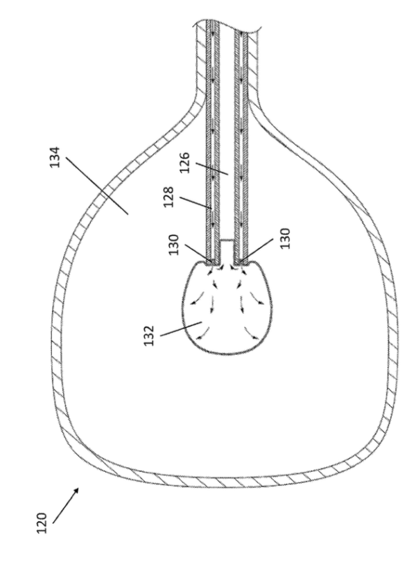
This inflatable device holds the bladder in a consistent shape for accurate placement of radiation sources while shielding surrounding organs. It addresses a major limitation in bladder cancer treatment by enabling targeted brachytherapy despite the bladder’s variable geometry. Inserted and removed via the urethra, it offers a less invasive option for patients unsuitable for bladder removal. This approach could reduce recurrence, improve comfort, and open new pathways for intravesical drug delivery
Team
Gallery




